欠费5000万、邮轮被扣、法人更迭:“邮轮界蜜雪冰城”蓝梦邮轮的生存危机
近日,一则“蓝梦邮轮旗下邮轮因欠费被扣”的消息引发公众热议。曾以低价定位被称为“邮轮界蜜雪冰城”的蓝梦邮轮,如今深陷债务泥潭,不仅旗下邮轮被扣押、数百名员工被欠薪,还多次被列为被执行人,法定代表人也悄然变更,昔日的“国民邮轮”正面临前所未有的生存危机。
据媒体报道,蓝梦邮轮旗下“蓝梦之歌”号近期在广西北海港被燃料供应商Island Oil申请扣押,起因是公司拖欠约60万美元油款,截至目前该邮轮已停泊超两个半月。除了拖欠油款,蓝梦邮轮的欠费危机已全面爆发,据员工统计,公司累计拖欠薪资、物料费用、违约金等总额超5000万元,其中约200名岸基与船员被欠薪,单人最高被欠薪金额达30余万元,不少员工在春节前未能拿到工资,甚至需要自筹路费返乡,维权之路艰难。

天眼查App显示,蓝梦邮轮的关联主体为上海蓝梦国际邮轮股份有限公司,该公司成立于2016年8月,法定代表人为林恩杰,注册资本约7711万元人民币,经营范围涵盖邮轮港口服务、国际船舶运输等,由福建中运投资集团有限责任公司、青岛聚融产业投资有限公司、舟山群岛国际邮轮港有限公司三方共同持股。值得注意的是,该公司的法定代表人在今年2月发生变更,原法定代表人王鹏卸任,由林恩杰接任,而这一变更恰好发生在公司危机集中爆发的节点。
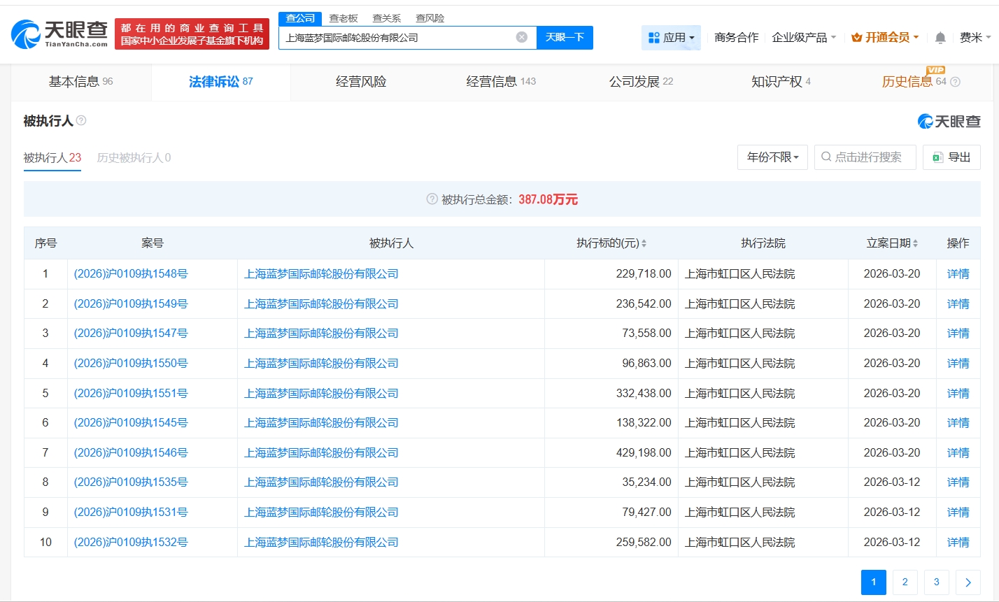
司法层面的风险更是雪上加霜。近期,上海蓝梦国际邮轮股份有限公司及新任法定代表人林恩杰,因未按执行通知书指定的期间履行生效法律文书确定的给付义务,被依法限制高消费。案件流程显示,今年2月,该公司已因相关案件被强制执行11万余元,而截至目前,公司名下已有20余条被执行人信息,涉及多起欠薪、合同纠纷,涉案金额累计超130万元,目前已有员工集体起诉立案,维权行动仍在持续推进。

事实上,蓝梦邮轮的危机并非突如其来。作为主打低价路线的“国民邮轮”,其349元起的短线航线曾吸引不少消费者,但这种“低价策略”背后,是难以持续的盈利困境——单船运营成本高昂,低价售票导致“卖一单赔一单”,长期无法覆盖运营成本。同时,公司旗下船舶船龄较大、设施简陋,被网友调侃为“海上农家乐”,与国际大型邮轮的体验差距悬殊,难以形成核心竞争力。
此外,航线单一、扩张激进也加剧了公司的资金压力。蓝梦邮轮长期依赖日韩、东南亚短线航线,在日本航线取消后转向全韩线,导致客源大幅下滑;2024年引入新船后,未同步优化管理团队,资源分散,进一步加重了资金链负担。更值得关注的是,公司长期依赖母港补贴生存,缺乏稳定的盈利模式,一旦补贴减少或市场波动,资金链便容易出现断裂。
目前,蓝梦邮轮的运营已基本陷入停滞:1月4日起,“蓝梦之歌”号暂停运营,另一艘邮轮“蓝梦之星”号此前已停航待售,国内母港业务全面停滞。为缓解危机,公司正推进资产处置,两艘邮轮均已进入待售阶段,其中“蓝梦之歌”拟转售给俄罗斯运营商,“蓝梦之星”已进入询价阶段。同时,两大股东已拨付70%的资金,青岛聚融产业投资有限公司的30%资金仍在协调中,但即便资金到位,面对巨额欠费、诉讼缠身、口碑崩塌的多重困境,蓝梦邮轮的自救之路依然艰难,大概率将走向清算或破产重组。
从曾经风靡一时的“低价邮轮代表”,到如今的债务危机缠身,蓝梦邮轮的陨落,既是自身经营策略失误的结果,也折射出国内中小型邮轮企业的生存困境。在邮轮行业逐步复苏的背景下,唯有摒弃单纯的低价竞争,聚焦产品品质、优化航线布局、构建稳定的盈利模式,才能实现长远发展,而蓝梦邮轮的教训,也为行业内其他企业敲响了警钟。
更多精彩内容,关注云掌财经公众号(ID:yzcjapp)
- 热股榜
-
代码/名称 现价 涨跌幅 加载中...