去创作

用微信扫描二维码

分享至好友和朋友圈

又遇质量风波同仁堂蜕变在路上

独立 稀缺 穿透

图片

烈火出真金,越挫越勇真英雄!

 

 

 

 

 

作者:陈晨

编辑:楚逸

风品:张戈

来源:铑财——铑财研究院

以诚相待、信誉是金、品质至上,这是企业永续经营的不二法门。这不临近岁末,一份检测报告搅动保健品圈。

2025年12月11日,上海市消保委公布了15款不同品牌南极磷虾油产品的比较检测结果。其中,一款标注为“北京同仁堂99%高纯南极磷虾油”的产品,在销售页面上宣称具有“高含量”“智利进口原料”“高度提纯”“1粒≈100只磷虾”等特点,其标识磷脂含量为43%,实际检测结果显示为0。

一石激起千层浪,百年老字号的贴牌乱象被置于荧光灯下。12月20日,涉事公司的间接控股方——中国北京同仁堂(集团)有限责任公司(下称“同仁堂集团”)发布正式致歉声明,承认监管失职,并宣布开展“零容忍品牌严管专项行动”,包括下架涉事产品、依法赔偿消费者、追究相关方责任等措施。同日,四川省成都市新都区市场监督管理局通报,已对涉事企业立案调查。上海市消保委则表示,将持续监督整改措施落实情况,强调“最终结果要由消费者的切实感受说了算”。

12月25日,北京同仁堂再发声明,责令李声义辞去四川健康公司总经理职务,并对其他相关管理人员全部予以停职。市场监管总局称,针对“南极磷虾油”问题将强化食品委托生产监管。事件暴露出企业委托生产加工行为不规范等问题。部分企业倚仗自身品牌影响力,只关注销售利润而忽视对产品质量的把控,甚至纵容受委托企业生产销售不合格产品。

知错能改善莫大焉。只是,信任危机的修复从不是一蹴而就的。何以至此、乱象症结在哪、对自身及行业又应带来哪些反思、新变呢?

01

又陷质量旋涡 透支宝贵信誉

LAOCAI

客观而言,同仁堂集团也是受害者。可若深入梳理,背后牵涉的产业环节与权责关系错综复杂,依赖品牌授权和贴牌生产模式扩张衍生的乱象,又给企业及时敲响了风控警钟。

聚焦这款醒目标注“北京同仁堂”字样的“凝胶糖果”,实际由四川健康药业有限公司委托安徽哈博药业有限公司生产。然销售过程中,其未明示为“委托生产”产品。

据安徽哈博药业提供的资料显示,该产品采购价仅3.7元/瓶,市场零售价却高达60多元/瓶,溢价近20倍。华夏时报援引的行业数据表明,高纯度南极磷虾油原料市场价长期维持在350元/公斤以上。仅按产品宣称的45%磷虾油含量计算,单瓶产品的磷虾油原料成本已超10元,3.7元的出厂价显然无法覆盖这一刚性成本。

安徽哈博药业同时声明,该产品系同仁堂四川公司定制采购,包装由其指定要求制作,所有产品均供给同仁堂四川公司对外销售。但作为经销商的同仁堂四川公司一度辩称:对产品涉嫌造假不知情;包装突出使用“北京同仁堂”字样系生产商自主决定;市场上流通的涉事产品均来自下线经销商,与其无关。

然而,哈博药业向消保委出示的、盖有同仁堂(四川)健康药业公章的包装清样显示,其设计与电商在售产品完全一致,从而使同仁堂四川公司上述说法不攻自破。

上海市消保委副秘书长唐健盛指出,四川健康药业在约谈中拼命“甩锅”:一方面坚称自身仅为经销商、无需对产品质量负责,另一方面否认存在“擦边宣传”。但消保委调查认定其属于“委托生产”,需承担主要质量责任,且包装设计存在刻意误导嫌疑。

值得注意的是,该产品包装虽以大号字体突出“北京同仁堂”标识,却在下方以小字标注“四川健康药业有限公司”,所用“朕皇”商标亦为该公司注册,与同仁堂核心的“双龙商标”毫无关联。四川健康药业声称对包装上的“北京同仁堂”字样“不知情”,这一说法被广泛质疑违背基本商业逻辑。上海市消保委进一步指出,涉嫌默许原料造假事实。

利润分配结构进一步凸显产业链问题。据华夏时报,按代工行业15%—20%的常规利润率测算,安徽哈博药业每瓶产品仅获利0.7—0.8元,而剩余约56元的溢价全部流入四川健康药业。这种“品牌授权+低成本代工”模式,虽让品牌方得以规避生产环节成本、获取可观利润,却也为品质失控埋下隐患。

浏览电商平台,标有“北京同仁堂”字样的产品已涵盖玫瑰花茶、秋梨膏、足浴包、膳食补充剂等多个品类,被网友戏称为“同仁堂宇宙”。拉长维度看,深陷质量旋涡已非孤例。早在2018年,同仁堂蜂业就因委托加工方回收过期蜂蜜并更改生产日期,导致同仁堂集团被撤销“中国质量奖”。2024年,同仁堂仁丹被曝汞含量超标5万倍;2025年,多款贴牌保健食品因虚假宣传被央视曝光。

一再遭遇质量问题,需警惕透支百年老店的宝贵信誉。

02

贴牌是与非 该怎么变

LAOCAI

那么,乱象究竟是如何产生的呢?

据天眼查信息,涉事的四川健康药业由北京同仁堂健康药业持股51%,系同仁堂集团的孙公司。在电商平台上,诸多药食同源类产品则来自另一授权主体——北京同仁堂兴安保健科技有限公司,该公司由港股上市公司同仁堂科技控股51%,同样隶属于同仁堂集团体系。

实际上,两企只是一个折射,这家历史悠久的企业已构建起一个覆盖全产业链的“大健康王国”。根据官网介绍,北京同仁堂以中医中药为核心,形成了“制药工业为主业,健康养生、医疗养老、商业零售、国际药业为支撑”的五大业务板块,构建了从种植(养殖)、研发、制造、销售到医疗、康养的完整产业链。

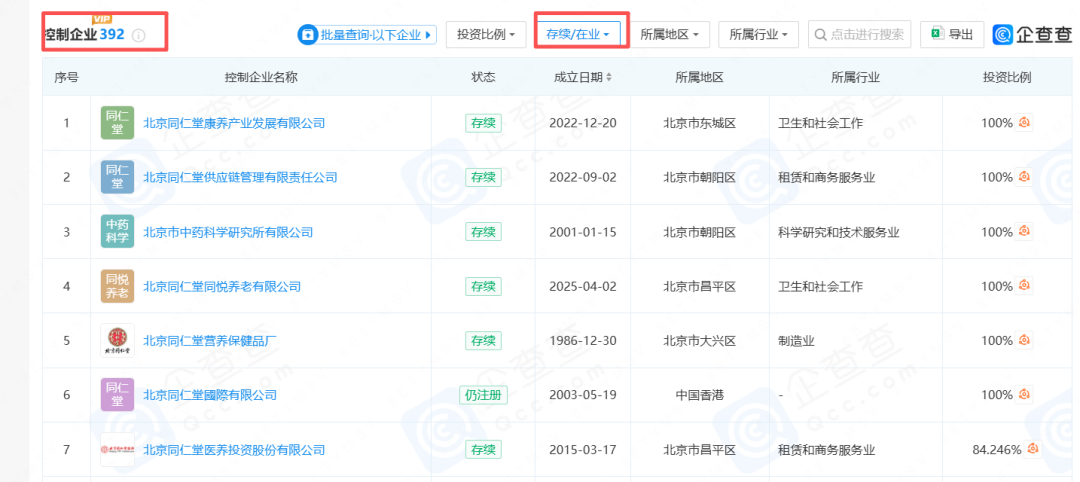
庞大的业务布局背后,是企业层级错综复杂的矩阵体系。企查查数据显示,截至2025年12月30日,北京同仁堂集团直接或间接控制企业达392家(存续/在业)。其中,分销商包括此次涉事的四川健康药业,还有北京同仁堂兴安保健科技有限责任公司、北京同仁堂化妆品有限公司等。

图片

据新快报,这些分销商所使用商标均与北京同仁堂的“双龙标”相似,通常都会在产品详情页和包装上写有或放大“北京同仁堂”字样,容易造成误导。具体运营商,贴牌采用“品牌授权+委托生产”的轻资产模式,即兴安保健或四川健康药业将“北京同仁堂”文字商标或自有商标授权给第三方代工厂如安徽哈博药业等,第三方工厂负责产品研发、生产,兴安保健或四川健康药业等仅把控包装设计与品牌营销,通过收取品牌授权费+销售分成获利。

目前,多层级企业嵌套与跨领域业务交织,共同构成了北京同仁堂集团庞大而复杂的商业网络。据每日经济新闻,集团旗下拥有2400多家零售终端和医疗机构、36个生产基地,可生产2600多种药品和保健食品,成为横跨药品、保健食品、零售医疗等多个领域的“商业王国”。这种多业扩张模式推动了规模快速增长,但也不可避免地衍生了管控半径延伸、监管难度与成本攀升等隐忧。

行业分析师王婷妍表示,同仁堂发展历程,可视为老字号在时代浪潮中演进、分化与整合的缩影。多业务布局规模扩张展示了企业的发展活力、张性,进取求变精神值得肯定。但依赖品牌授权和贴牌的生产模式,又是质量管控难度剧增、乱象产生的症结所在。这次事件未能发现如此公开的商标使用行为,暴露了同仁堂集团疏于履行监督责任,监控体系可能存在重大缺陷。长远看,大量贴牌产品易稀释品牌含金量,想防范反噬效应、杜绝再次翻车,就必须建立一套成熟监控体系,对关联公司进行全天候监督、同时对粗放的贴牌运营模式进行升级优化,探索一条更稳妥更有质量的发展路径。

一句话,有张有弛、守正创新才是发展王道。如何在迎合市场、快速释放潜力的同时,把住质量品质红线,守护好老字号的信誉羽毛、金字招牌,这是同仁堂集团经此事件该有的最大改变。

03

发展十字口路

业绩股价双压 研发需加劲

LAOCAI

纷纷扰扰中,最显无奈的或许是上市公司同仁堂。

12月18日,其发布公告澄清:未直接或间接持有北京同仁堂(四川)健康药业有限公司任何股权及投资权益,该公司并非其下属企业。

公告同时说明,同仁堂的安宫牛黄丸、同仁牛黄清心丸、六味地黄丸等产品均为自主生产,不存在委托外部第三方生产的情况。其产品统一使用“同仁堂双龙商标”,而非此次事件中出现的近似图文商标“朕皇+双龙”。

及时澄清是必须必要的,毕竟其是同仁堂集团旗下的首家上市公司,且近年公司经营业绩、股价市值表现不算出彩。截至12月30日收盘,同仁堂股价报32.32元,较开年的40.09元累缩近20%,较2023年5月高点62.46元近乎腰斩,市值443.3亿元。在中药板块中,片仔癀、云南白药市值仍维持在千亿以上,华润三九为475亿元,同仁堂已退居第四位。

最新财报显示,2025年前三季同仁堂营收133.08亿元,同比下降3.70%;归母净利11.78亿元,同比下降12.78%;扣非净利11.63亿元,下降11.95%。其中第三季度营收35.39亿元,同比下降12.76%;归母净利2.32亿元,同比下降29.49%。

2024年,同仁堂营收增长4.12%,净利则下降8.54%,为近五年来同期的首次下滑。

业务构成方面,同仁堂主营业务分为医药工业与医药商业两大板块。前者涵盖中药及中成药生产,聚焦心脑血管、补益、清热、妇科等领域,核心产品包括安宫牛黄系列、六味地黄系列、阿胶系列、同仁牛黄清心系列及同仁大活络系列五大产品线,是公司主要利润来源。医药商业板块则主要负责零售终端业务。

得益于持续推进大品种战略与精品战略,2020年至2024年,同仁堂医药工业板块营收从76.92亿元增至119.12亿元,保持稳定增长。其中前五大产品系列营收从2021年的41.16亿元提升至56.07亿元,收入占比由28.19%升至30.15%,成为驱动板块增长的关键力量。而核心产品安宫牛黄系列按原料分为单/双天然产品与人工产品,前者定位高端市场,后者满足大众日常需求,是该板块的核心盈利来源。

不过随着疫情影响消退,安宫牛黄丸的临床使用量逐步减少。同时,2024年以来医保政策收紧,安宫牛黄丸受到支付范围限制(限急诊/住院)及违规使用监管强化等政策影响,医保渠道销售空间被压缩,导致零售端销量与价格双双承压。

药智网数据显示,2025年以来安宫牛黄丸零售市场销售额较往年显著下滑,其中6月至9月同比增速均低于-10%。2025上半年,前五大产品系列营收30.90亿元,与去年同期基本持平。分季度看,2025年一至三季度营收增速分别为0.16%、-0.05%和-12.76%。第三季度降幅加大,是否反映过多依赖安宫牛黄丸的大单品战略显出负面效应值得企业审视。

除了增长放缓,成本压力也需警惕。康美中药网数据显示,2025年1月天然牛黄市场价格达165万元/公斤,较2023年初上涨153.85%;同期天然麝香涨幅约33%。原材料价格上涨对医药工业板块毛利率形成挤压,也是同仁堂净利下滑的一大考量:2021年至2024年,该板块毛利率为48.16%、49.01%、47.30%和43.75%;其中前五大产品系列毛利率从59.19%逐步下滑至47.56%。

医药零售板块的毛利率表现亦不乐观。2024年该板块毛利率由上年同期的31.62%下降至27.39%,新店成本高企是主要影响因素;2025上半年进一步降至26.35%,创近十年来新低。

追其原因,除了上述外因,自身不足也值反思。以最新财报为例,2025前三季研发费仅1.43亿元,占营收比约1%,远低于行业3%—5%的平均水平。相比之下,同期销售费达26.12亿,同比增长8.47%。体量上是研发费的18倍还多。由此被舆论质疑“重营销、轻研发”,过度依赖经典产品和品牌价值的策略,不利产品质量和创新能力提升,制约长期发展。

不算苛求,要知道,同仁堂曾吃过被子公司拖累、业绩声誉受损的亏,据第一财经、环球网等消息,“蜂蜜门”事件曾导致同仁堂2018年预计净利减少5778万元。此次磷虾油事件虽及时澄清,可涉及面更广,仍需警惕对品牌形象的潜在影响进而波及业绩。

行业分析师孙业文表示,作为行业标杆、头部企业,同仁堂本应承担起规范市场的责任。往期看,其贴牌问题有一定的持续性和重复性,如何防止“道歉—整改—再犯”的循环,各界更期待从源头杜绝授权乱象。老字号核心价值在于“品质承诺”,贴牌模式使其沦为“授权商标”,报表上虽能短暂改善利润,本质却透支百年口碑,若长期依赖价值将面临不可逆损害,对上市公司也会造成潜在拖累,实在有些得不偿失。

如何平衡短利长益,能否根本整治贴牌管理乱象,同仁堂集团或已走到一个十字路口。

04

创新+国际化 守好金字招牌

LAOCAI

当然,正如问题不是一天形成的,积弊消解也非一蹴而就,必要的耐心等待还是要有的。

正如集团声明所言,“同仁堂”品牌创立356年来,始终离不开广大消费者的支持和厚爱。愿与大家一道,共同守护好“同仁堂”金字招牌,以实际行动维护品牌信誉,不负信任与期待。

客观而言,事件发生后,同仁堂集团态度是积极的、动作是决绝的。以品牌严管专项行动为例,截至12月24日,累计排查所属单位/店铺520余次。对重点电商平台上侵权产品和店铺链接进行排查,累计完成侵权产品投诉近600项;对“同仁堂正品直售”“北京同仁堂滋补佳品”等120余个冒用同仁堂名义的违规店铺发起投诉,坚决打击“擦边”使用“同仁堂”字号、商标使用不规范等行为。

同时,责令李声义辞去四川健康公司总经理职务,并对其他相关管理人员全部予以停职。后续将根据政府监管部门及内部调查结论,对相关失职失责人员严肃处理。

针对消费者反映的产品辨伪问题,同仁堂集团提示,正规“同仁堂”品牌产品,清晰印制“双龙标”,商标也作为官方授权店铺的统一标识;12月23日,同仁堂集团产品查询系统已在官网上线,开放1000余条涵盖中成药、保健食品等品类产品的信息查询服务,提供权威购买指引。

抛开此次突发事件,企业日常也在自我创新,激发内生成长动力。根据《北京市中药饮片炮制规范》(2023年版),北京同仁堂生产的中药饮片半夏曲——作为多种中成药的关键原料——已通过加拿大卫生部专业评审,后续将被收录于加拿大卫生部专论集。标志着我国地方中药标准首获加拿大药品监管体系认可,为中药国际化开辟了新路径。

实际上,为开拓新增长曲线、增加中药全球话语权,企业一直在推进国际化战略。如同仁堂制药厂生产的苏合香丸已取加拿大卫生部颁发的《产品许可证(三类)》;同仁堂国药研发的金钗石斛散获得中国香港中医药管理委员会颁发的中成药注册证书。这些可喜进展不断丰富着海外产品矩阵,为国际化战略奠基础。

同时,深化营销改革,强化科研创新,赋能主业升级。以同仁堂国药为例,整合线上线下渠道,与中免国际签署战略协议,围绕免税渠道合作、专供产品开发及中式养生餐饮等领域深化探索,共同开拓“一带一路”及东南亚等重点市场。并着力构建产、学、研、销深度融合的科技创新体系,与香港浸会大学、澳门科技大学等共建科研平台,持续开展合作研究、成果转化与人才培养,以科技驱动中医药产业现代化与国际化的新发展。

种种而观,同仁堂也有勃勃生机、旺盛的发展张力,这在老字号中尤为可贵。问题在于,如何控制好个中节奏、尺度。快速奔跑扩张的同时,守好安全、品质的底盘,防止动作过于粗放埋下隐患。毕竟根深才能叶茂,百年信誉积累不易,损伤只在一时之间。

经营企业就像驾驶汽车,能不能在速度与守规、安全与效益间找到平衡,是一道终极考题。这次事件影响再大,放到百年跨度也仅是同仁堂的一个小波折,但小波折多了也会变成大波澜。

往者不可谏,来者犹可追,危机常常相克相生。都说新年新气象,道歉了也处罚了,但愿经此一役痛定思痛后,这家百年老字号能迎来一个系统蜕变契机,后续形成一个系统根治贴牌、激发更多内生性的成熟方案,真正把金字招牌守好。

烈火出真金,越挫越勇真英雄!

本文为铑财原创

如需转载请留言

更多精彩内容,关注云掌财经公众号(ID:yzcjapp)

以上内容仅供学习交流,不作为投资依据,据此操作风险自担。股市有风险,入市需谨慎! 点击查看风险提示及免责声明
热股榜
代码/名称 现价 涨跌幅
加载中...
加载中 ...
加载中...

二维码已过期

点击刷新

扫码成功

请在手机上确认登录

云掌财经

使用云掌财经APP扫码登录

在“我的”界面右上角点击扫一扫登录

  • 验证码登录
  • 密码登录

注册/登录 即代表同意《云掌财经网站服务使用协议》

找回密码

密码修改成功!请登录(3s)

用户反馈

0/200

云掌财经APP下载

此为会员内容,加入后方可查看,请下载云掌财经APP进行加入

此为会员内容,请下载云掌财经APP加入圈子

云掌财经
扫码下载

更多功能与福利尽在APP端:

  • 精选会员内容实时推送
  • 视频直播在线答疑解惑
  • 达人一对一互动交流
关闭
/